Характеристики
Мощность, кВт
—
110
Номинальная производительность по воздуху, м куб./мин
—
50
Производитель
—
АО "ГМС Ливгидромаш"
Гарантия
—
12 месяцев
По запросу
Нашли дешевле?
Выберите нужный вариант товара
Насос ВВН2-50 с водоотделителем
Описание
Технические характеристики
Номинальная производительность, приведенная к начальным условиям при номинальном давлении всасывания 0,02 МПа (0,2 кгс/см), м3/с (м3/м): 0.833 (50)±10% Температура газа начальная номинальная/ максимальная, К (°С): 293 (20)/ 323 (50)Расход воды (жидкости) с учетом жидкости поступающей с перекачиваемым газом (Значения показателей приведенные к начальным условиям: температура воды (жидкости) 288 К (15 °С), температура газа 293 К (20 °С), барометрическое давление 0,1013 МПа), дм3/с (м3/ч), не более: 1,3 (5,0)
Частота вращения, с-1 (об/мин): 10 (660)
Род тока: переменный
Напряжение, В: 380
Частота тока, Гц: 50
Условное обозначение
Например 2ВВН1-0,8 УХЛ4 ТУ3648-236-05747979-2004, где:- 2 - порядковый номер модернизации;
- ВВН1 - вакуумный водокольцевой насос с номинальным давлением 0,04 МПа;
- 0,8 - производительность, м3/мин;
- УХЛ - климатическое исполнение;
- 4 - категория размещения при эксплуатации.
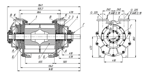
Габаритные размеры

| Буквенное обозначение | Назначение | Размер | Кол-во |
| А | Слив утечек уплотнений вала | G 1/2 " | 2 |
| Б | Подвод рабочей жидкости в полости насоса | G 1 " | 2 |
| В | Подвод жидкости к уплотнениям вала | G 1/2 " | 2 |
| Г | Гарантийное пломбирование | - | |
| К | Консервационное пломбирование | - | - |
Габаритный чертеж насоса с водоотделителем и подводом

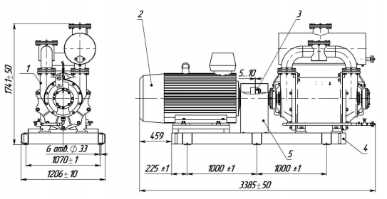
Габаритный чертеж агрегата с водоотделителем и подводом
Марка двигателя АИР355М10 У2, 380 В, 50 Гц, IM 1001, 110 кВт, 600 об/мин


